previous | start | next

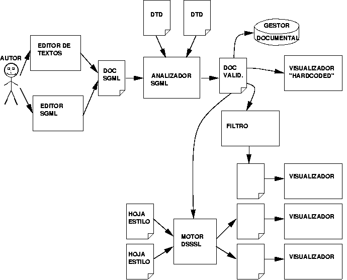
Entorno de producción SGML

Entorno SGML


previous | start | next